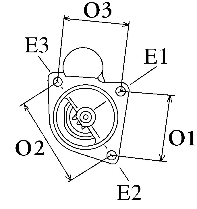
kW 2.1, Voltage 12, Mounting Flange 89.00, Mounting Hole 3 10.50, Distance 89.50, Oil sealed No, Prod. info BN, Drive type Steel, Mounting Hole 2 11.00, Rear Distance 216.00, Distance 2 126.50, Distance 3 89.50, Drive Distance 29.50, Waterproof No, Terminal 50 6.30, B+ M8, Rotation CW, No./mount. holes 3 (0), Front Distance 79.00, Total Length 309.00, Position 10, Mounting Hole 1 11.00, Mounting Holes with Thread 0, Amount of Mounting Holes 3, Gear type DD, No./teeth 10