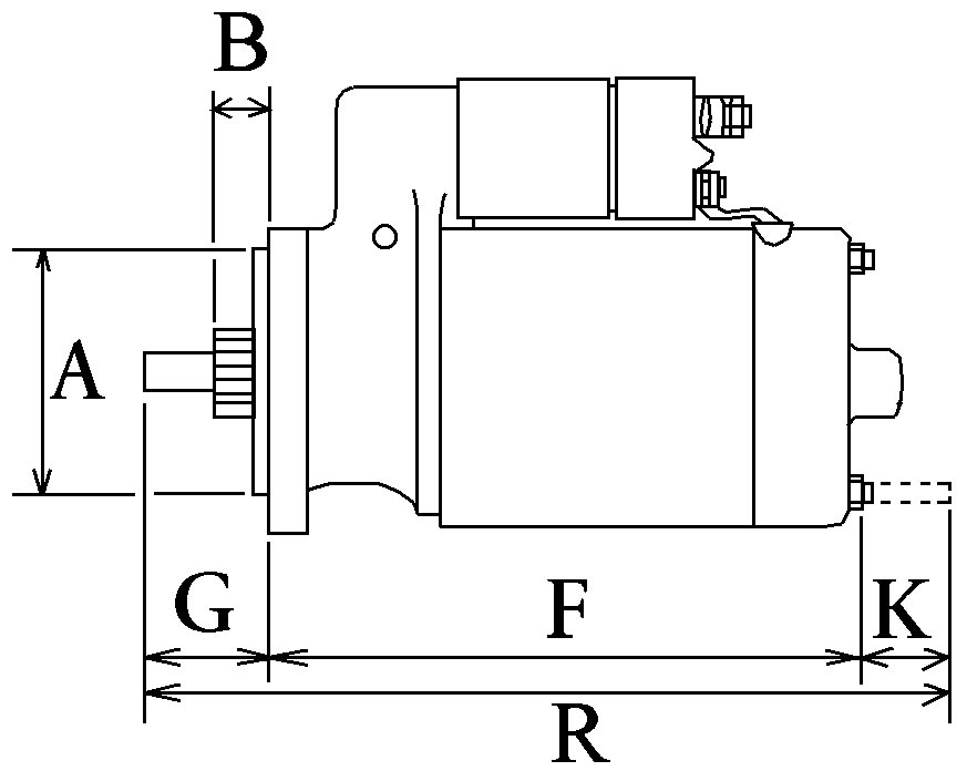
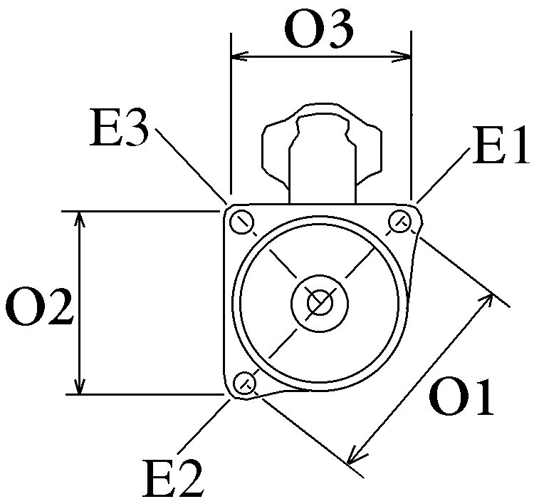
kW 0.6, Voltage 12, Mounting Flange 30.00, B+ M6, Rotation CCW, Distance 50.50, Oil sealed No, Prod. info BN, Drive type Steel, No./mount. holes 2 (0), Rear Distance 103.00, Drive Distance 41.00, Waterproof No, Amount of Mounting Holes 2, Total Length 145.00, Gear type DD, Mounting Holes with Thread 0, No./teeth 9