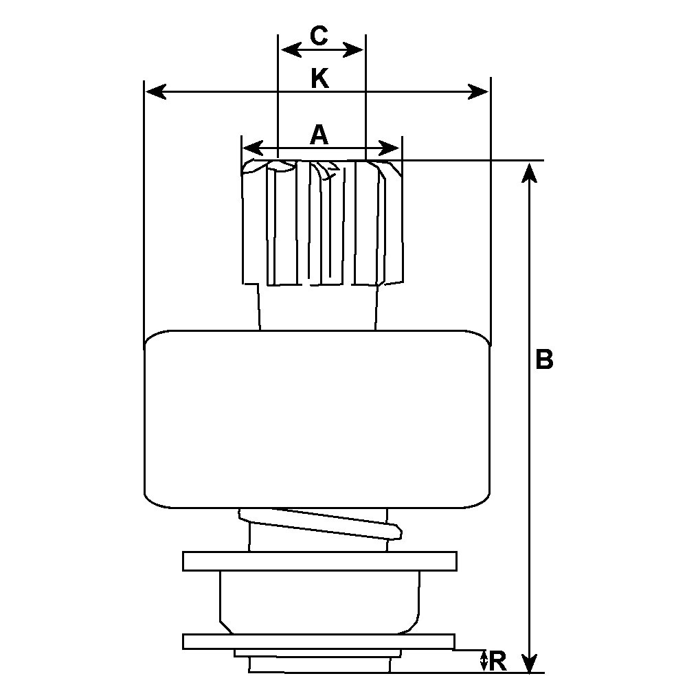
Splines internal 10, Rotation CW, Inner Diameter 12.00, Outer Diameter 25.80, Shaft Distance 4.30, Total Length 64.50, No./teeth 9, Housing Outer Diameter 46.30