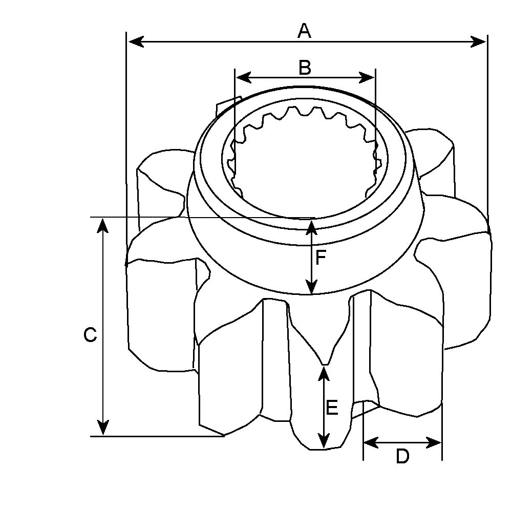
Teeth Depth 2.25, Bushing w/, No./teeth 37, Inner Diameter 46.70, Teeth Height 12.30, Collar Height 3.00, Outer Diameter 70.00, Height 23.50