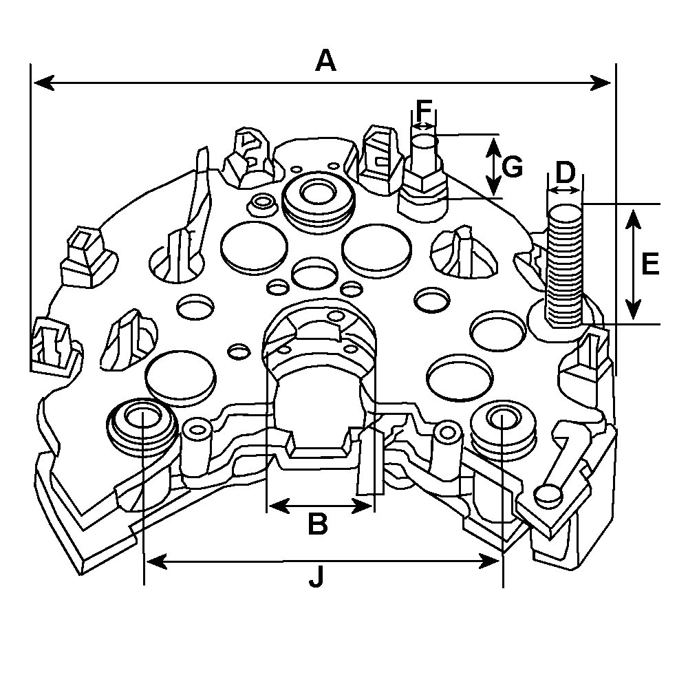
Diode A Current Strength 35, Diode type HD, Connections for stator 3, Capacitor w/, Diode Trio w/, Inner Diameter 39.50, Control diodes w/, Outer Diameter 115.00