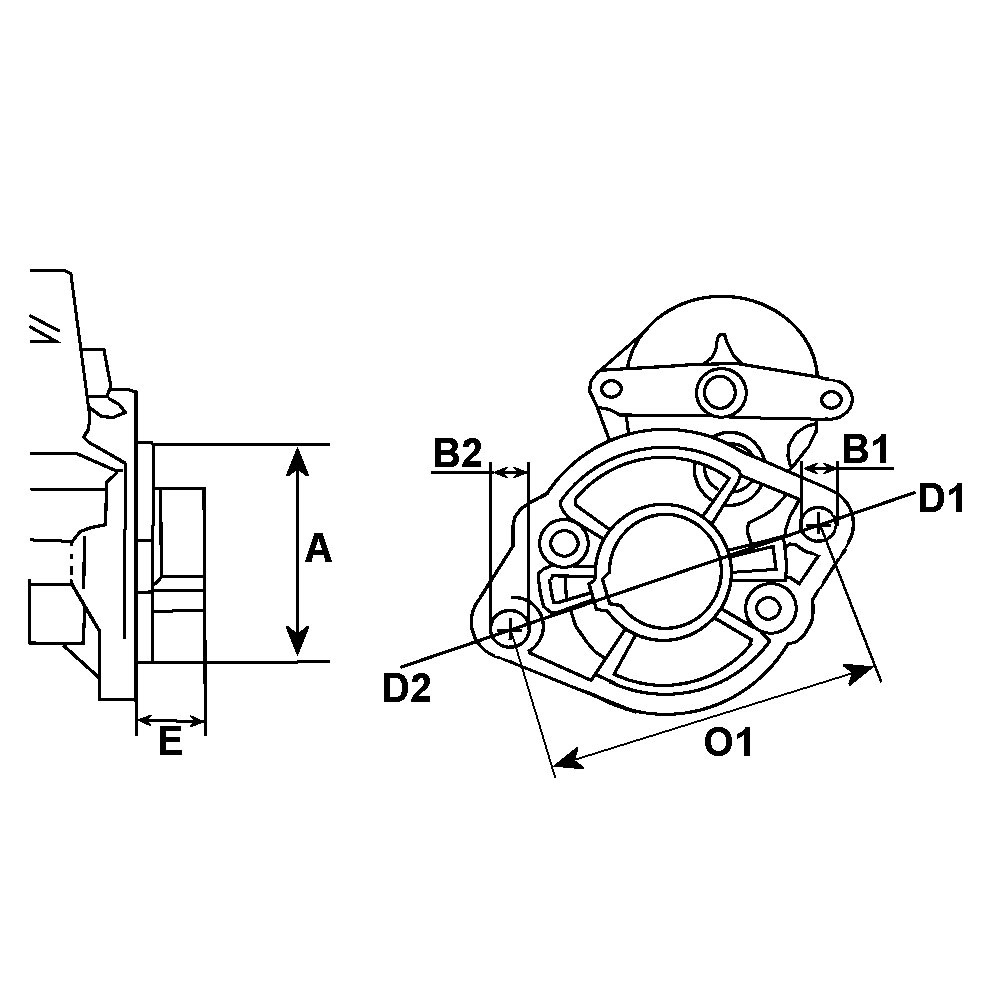
Mounting Hole B2 11.00, Distance C2 13.30, Mounting Hole B1 11.00, Mounting Flange Distance 23.00, Type Open, Distance C3 13.30, Mounting Hole B3 11.00, Distance C1 13.30, Mounting Flange Diameter 89.00