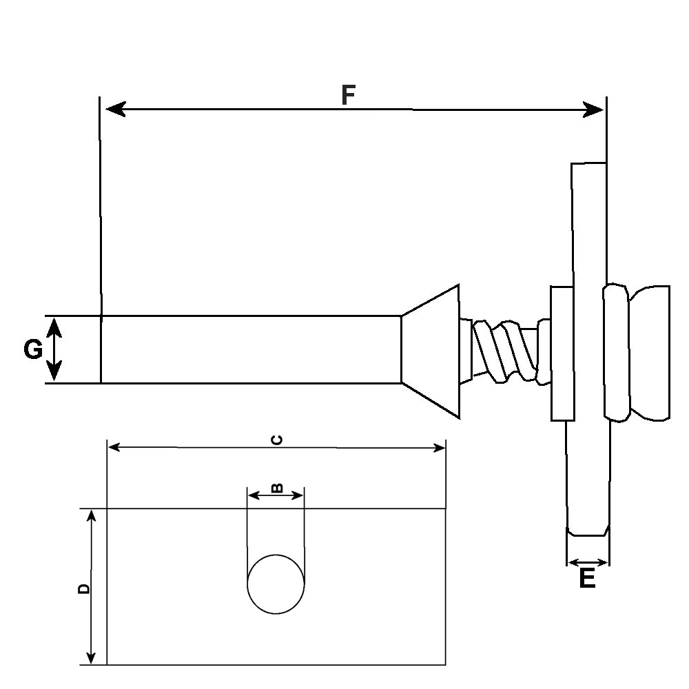
Width 1 15.00, Shaft measurement 31.50, Outer Diameter 2 6.40, Material Copper, Shaft w/, Thickness 3.00, Length 36.00