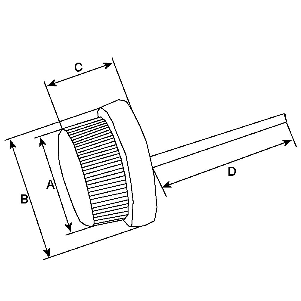
Voltage 400, Amp 70, Polarity Negative, Diode type Stud mount, Servicing AC203R, Remarks 1/4"-28 stud., Length 34.00