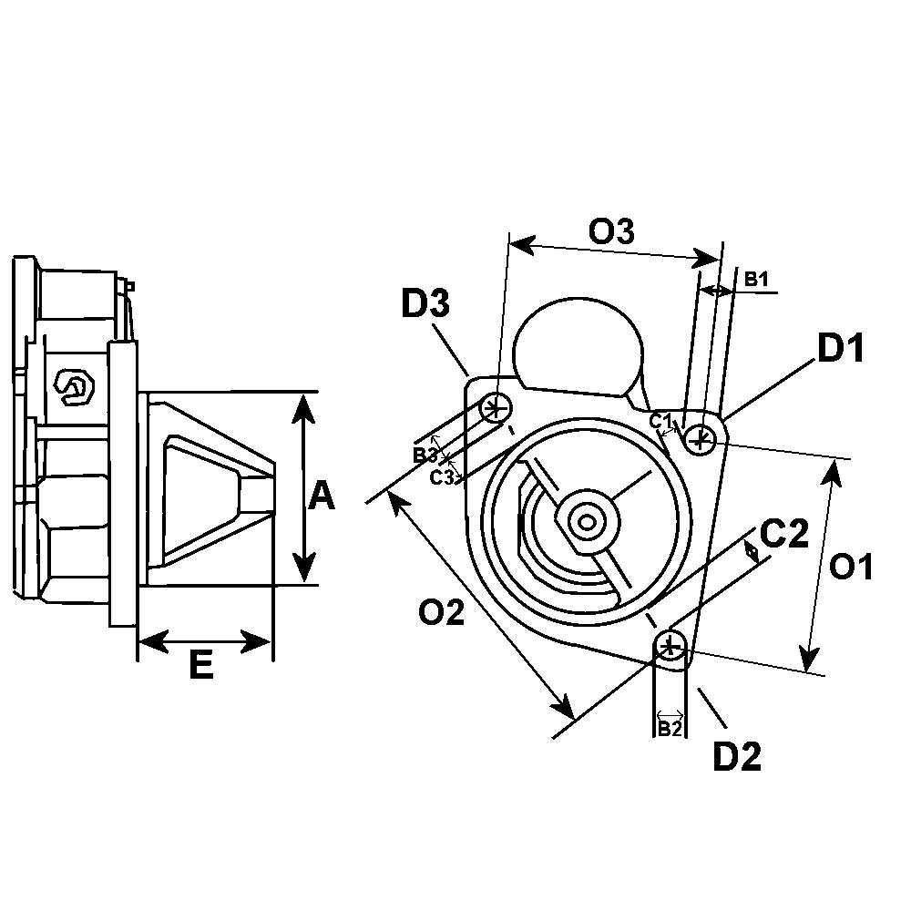
Mounting Hole B2 10.30, Position D1 25, Position D2 55, Distance C2 4.60, Mounting Hole B1 13.20, Mounting Flange Distance 53.40, Type Closed, Distance O1 120.00, Distance C1 4.20, Mounting Flange Diameter 82.60