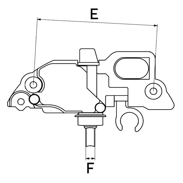
Voltage setting 14.2, Voltage 14, Amp 18, Terminal type L-B+-F(A), Regulator type Mechanical, Servicing 10DN, Distance Between Mounting Holes 97.00