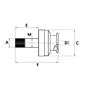
Clutch End Inner Diameter 14.00, No./splines 26, Drive End House Shaft Length 84.70, Drive End Outer Diameter 61.80, Splines/housing 5, Rotation CW, Shaft Outer Diameter Front 24.90, Outer Diameter 19.00, Total Length 135.00