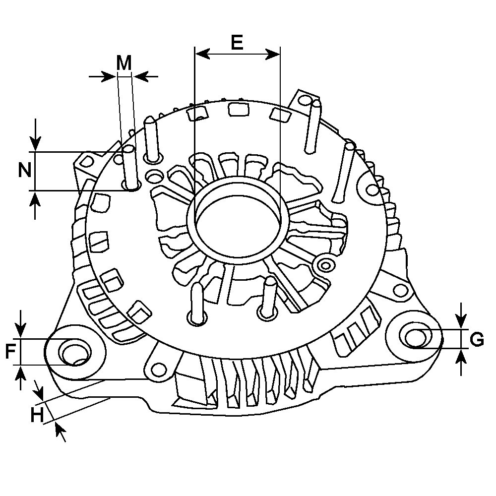
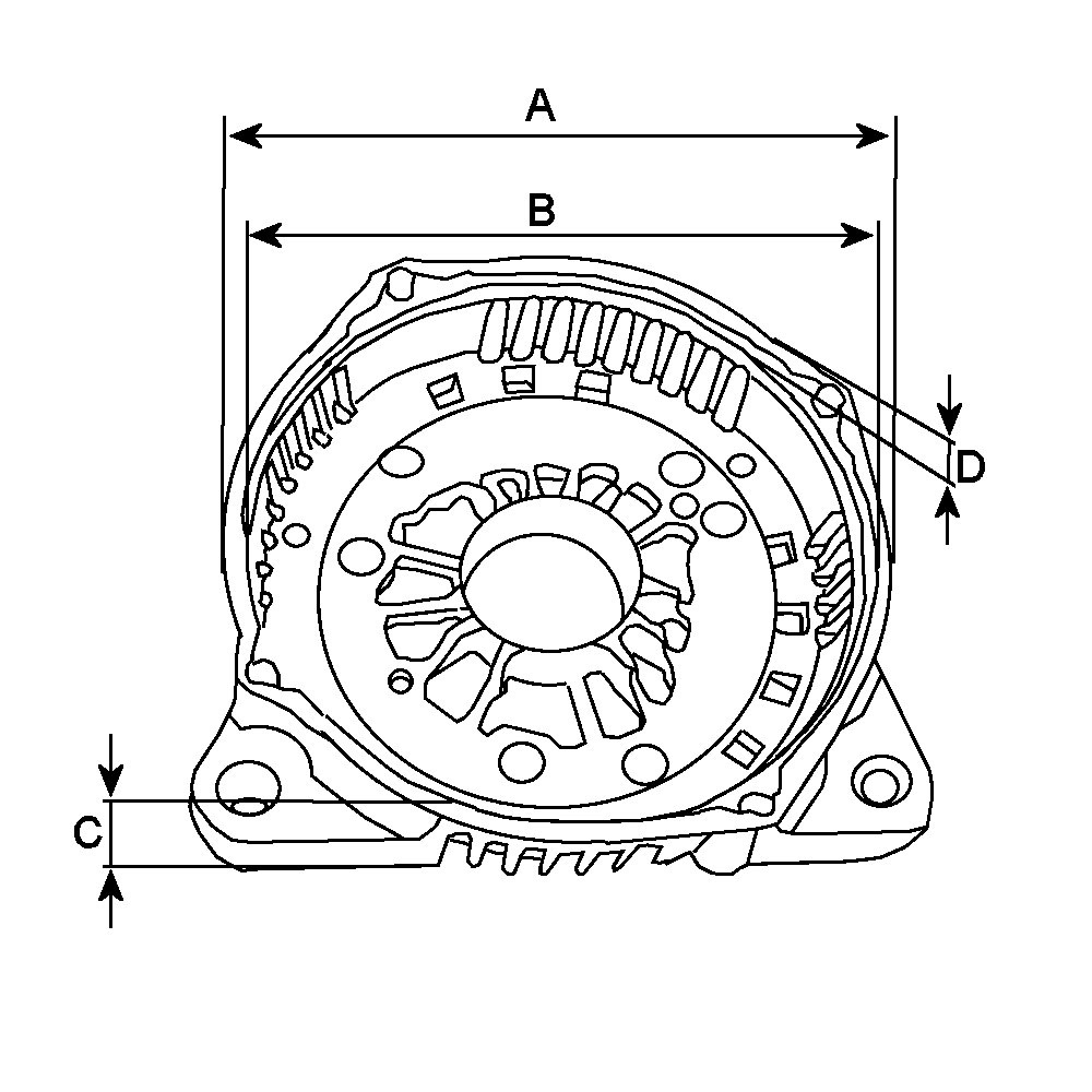
Stator edge 2.60, Inner Diameter 121.00, Bearing Hole Inner Diameter 37.00, Outer Diameter 126.00, Remarks Bearing: HC-CARGO 141071., Height 40.20