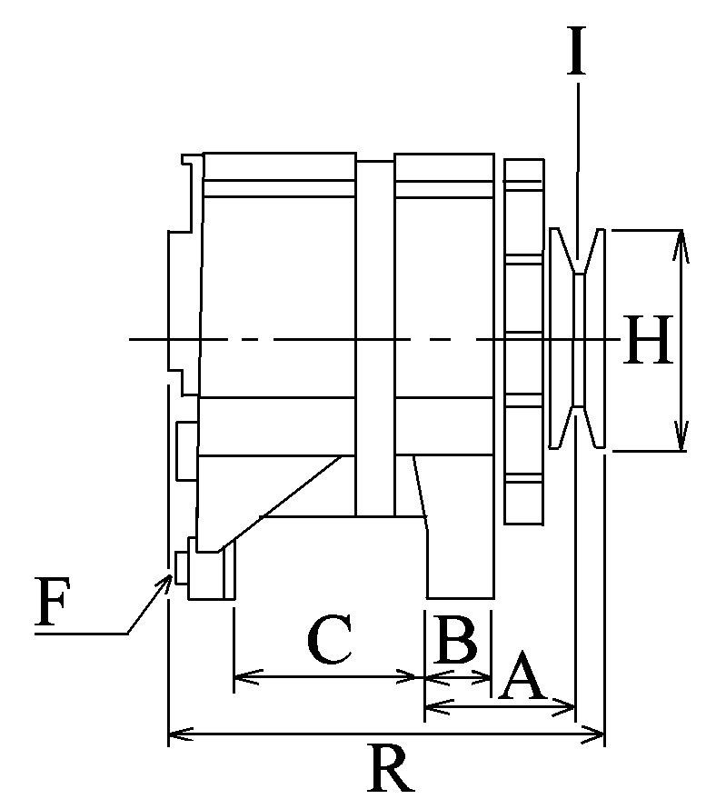
Terminal IF, Volt 14, Amp. 220, Kommunikation COM, Remskive SP/FW, Remskivediameter 54.00, Størrelse Bøjlehul - bag M10, Remskiveafstand 55.30, Bemærkning Denne generator har et COM signal. Det anbefales, at der kun bestilles via OE-nummer., Afstand - ophæng 76.00, Radius 92.00, Remstrammerhul 1 10.50, Spor i remskive 7, Regulatortype IR, Størrelse Holdearmshul 1 10.50, Terminal type LIN, Bredde - holdearm 28.00, B+ M8x1.25, Blæser IF, Radius 2 92.00, Kontrol diyotlari PL125, Rotation CR, B+ Placering 58, Remstrammerhul plac. 45, Totallængde 185.00